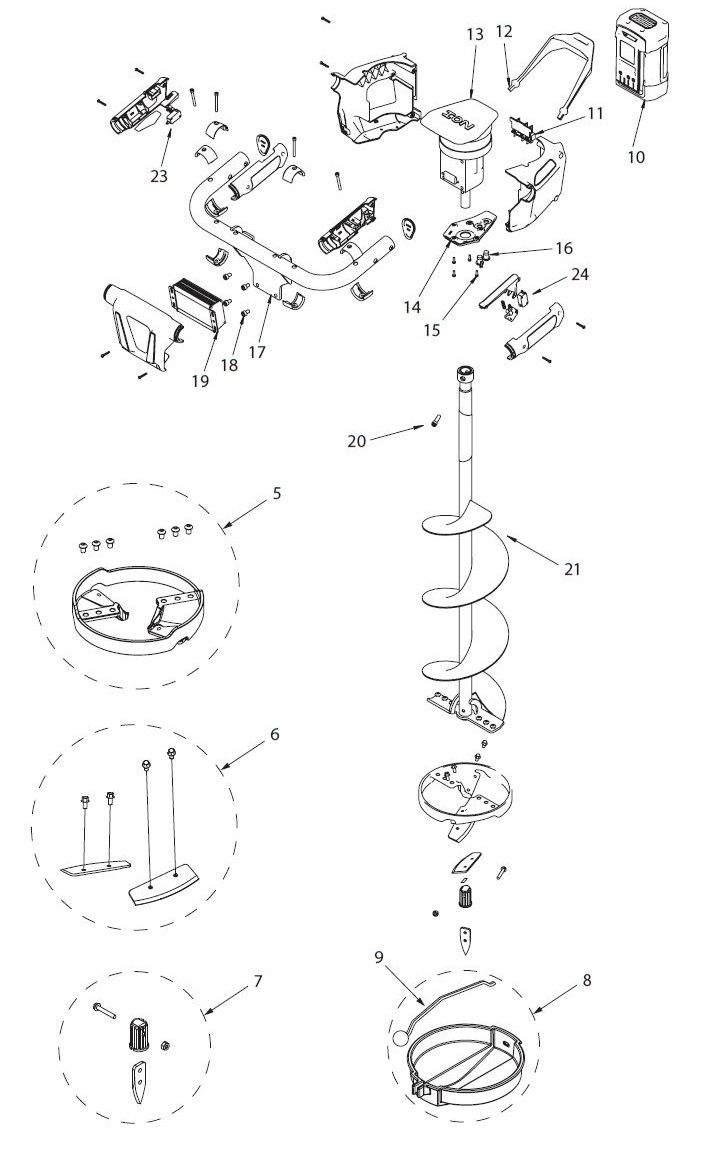
ION X / GEN1 / 10 Inch / 29300

Series # 033775; Model Year 2019

Parts Catalog

View Documents

3/7/2019
29300 ION X Complete 10", Series # 033775, Model Year 2019
4/15/2019
29300 ION X Complete 10", Series # 033775, Model Year 2019

Click on Titles Below to View Assembly & Parts List

  • Complete Assembly 

  • Replacement Kits 

  • Enter the quantity for each part you wish to purchase and press the "ADD TO CART" button.

    Key No. Part No. Image Description Cost Availability Order Qty.