E43WC POWER DRILL WOODCHUCK 43CC VIPER

MODEL YEAR 2007

Parts Catalog

View Documents

7/23/2007
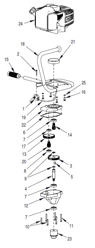
E43WC WoodChuck Power Drill with 43cc Viper, Model Year 2007

Click on Titles Below to View Assembly & Parts List

  • Complete Assembly 

  • Engine Assembly 

  • Enter the quantity for each part you wish to purchase and press the "ADD TO CART" button.

    Key No. Part No. Image Description Cost Availability Order Qty.